Mexen Riva λεκάνη τουαλέτας Rimless Tornado με slim κάθισμα αργής πτώσης, duroplast,

Mexen Riva λεκάνη τουαλέτας Rimless Tornado με slim κάθισμα αργής πτώσης, duroplast,

  • Ημέρες Μπάνιου
Mexen Riva λεκάνη τουαλέτας Rimless Tornado με slim κάθισμα αργής πτώσης, duroplast,
search
  • Mexen Riva λεκάνη τουαλέτας Rimless Tornado με slim κάθισμα αργής πτώσης, duroplast,
  • Mexen Riva λεκάνη τουαλέτας Rimless Tornado με slim κάθισμα αργής πτώσης, duroplast,
  • Mexen Riva λεκάνη τουαλέτας Rimless Tornado με slim κάθισμα αργής πτώσης, duroplast,
  • Mexen Riva λεκάνη τουαλέτας Rimless Tornado με slim κάθισμα αργής πτώσης, duroplast,
  • Mexen Riva λεκάνη τουαλέτας Rimless Tornado με slim κάθισμα αργής πτώσης, duroplast,
  • Mexen Riva λεκάνη τουαλέτας Rimless Tornado με slim κάθισμα αργής πτώσης, duroplast,
  • Mexen Riva λεκάνη τουαλέτας Rimless Tornado με slim κάθισμα αργής πτώσης, duroplast,
Mexen Riva λεκάνη τουαλέτας Rimless Tornado με slim κάθισμα αργής πτώσης, duroplast,
Mexen Riva λεκάνη τουαλέτας Rimless Tornado με slim κάθισμα αργής πτώσης, duroplast, Mexen Riva λεκάνη τουαλέτας Rimless Tornado με slim κάθισμα αργής πτώσης, duroplast, Mexen Riva λεκάνη τουαλέτας Rimless Tornado με slim κάθισμα αργής πτώσης, duroplast, Mexen Riva λεκάνη τουαλέτας Rimless Tornado με slim κάθισμα αργής πτώσης, duroplast, Mexen Riva λεκάνη τουαλέτας Rimless Tornado με slim κάθισμα αργής πτώσης, duroplast, Mexen Riva λεκάνη τουαλέτας Rimless Tornado με slim κάθισμα αργής πτώσης, duroplast, Mexen Riva λεκάνη τουαλέτας Rimless Tornado με slim κάθισμα αργής πτώσης, duroplast,
Ceramika+ Ceramika+
Χωρίς στεφάνη "Tornado" Χωρίς στεφάνη "Tornado"
Duroplast Duroplast
Μάρκα:
Σειρά:
Ean:
5905315577528
Δείκτης:
30630200T
Ύψος:
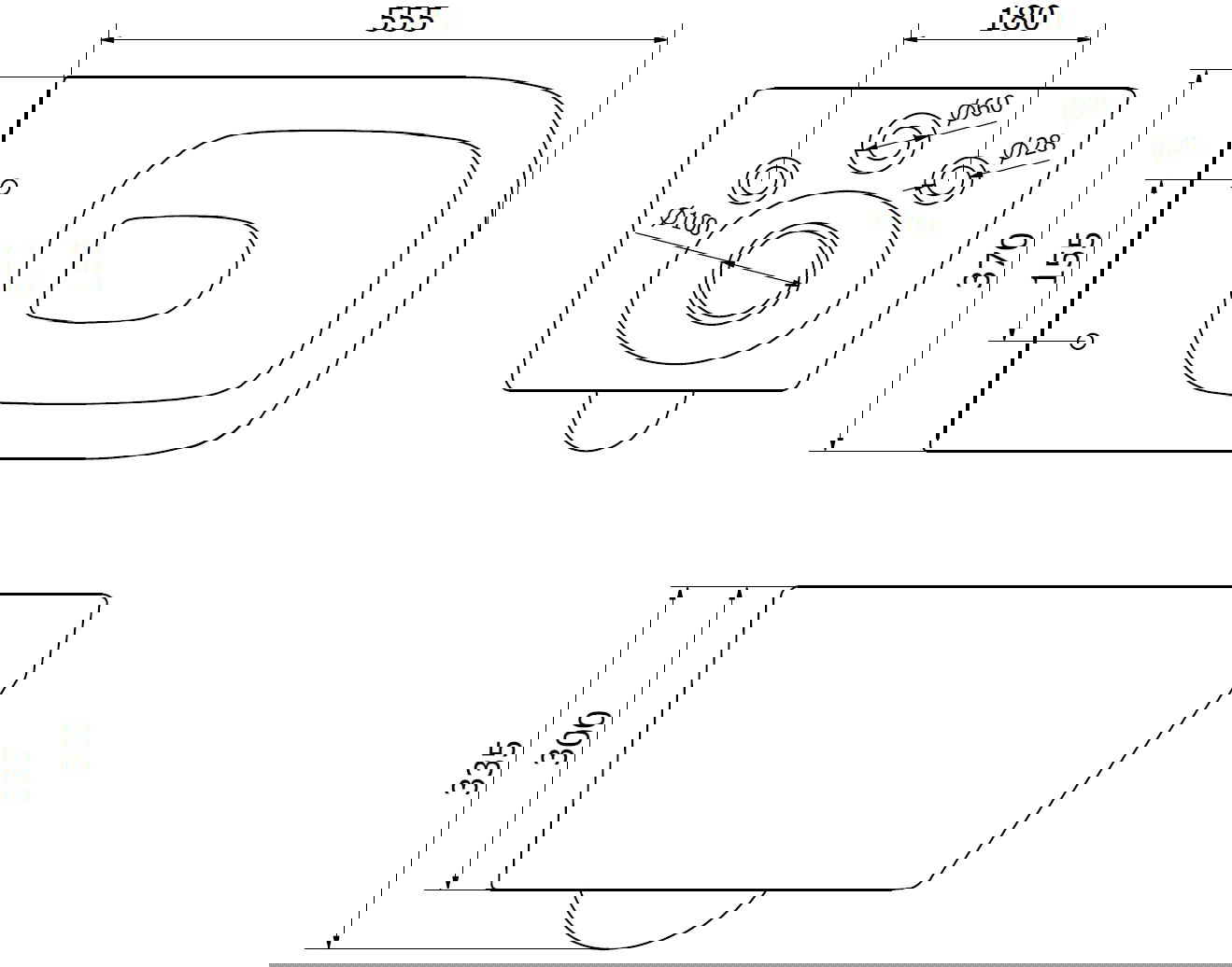
33,5 εκ.
Μήκος:
55,5 εκ
Πλάτος:
37 cm
Συναρμολόγηση:

Mexen Riva λεκάνη τουαλέτας Rimless Tornado με slim κάθισμα αργής πτώσης, duroplast,

Προδιαγραφές προϊόντος:

Μέγεθος: 55,5x37x33,5 εκ

Εγκατάσταση: Κρεμαστή

Σύστημα έκπλυσης: Rimless Tornado (χωρίς άκρα)

Χρώμα: Λευκός γυαλιστερός

Υλικό: Υγειονομική κεραμική

Τύπος καθίσματος: Αργής πτώσης

Χρώμα: Λευκός γυαλιστερός

Υλικό: Duroplast

Έκδοση slim: Ναι

Εύκολη αποσύνδεση: Ναι

Μεταλλικοί μεντεσέδες: Ναι

Καινοτόμες λύσεις που εφαρμόζονται σε αυτό το προϊόν

Ceramika+

Το προϊόν κατασκευάστηκε από κεραμικό υψηλής ποιότητας. Χαρακτηρίζεται από αντοχή στη σκουριά, χημικές ουσίες και υψηλές υγιεινές ιδιότητες. Είναι όχι μόνο ανθεκτικό, αλλά και εύκολο στη συντήρηση της καθαριότητας.

Χωρίς στεφάνη "Tornado"

Σύστημα που χαρακτηρίζεται από την απουσία παραδοσιακού στεφανιού (χωρίς στεφάνη) και από ένα συγκεκριμένο, σπειροειδές σύστημα έκπλυσης που θυμίζει δίνη. Το νερό της έκπλυσης δημιουργεί το εφέ "tornado", εκπλένοντας γρήγορα και αποτελεσματικά ολόκληρη την επιφάνεια του μπολ, βοηθώντας στον καλύτερο καθαρισμό του και εμποδίζοντας τη συσσώρευση βρωμιάς.

Duroplast

Οι σανίδες από ντουροπλαστ χαρακτηρίζονται από υψηλή αντοχή και ανθεκτικότητα στις ζημιές και την καθημερινή φθορά. Η χρήση ντουροπλαστ επιτρέπει την ελεύθερη χρήση και τη διατήρηση της αισθητικής του προϊόντος για μεγάλο χρονικό διάστημα.

Καπάκι με αργή κάθοδο

Το καπάκι με αργή κάθοδο είναι εξοπλισμένο με ένα ειδικό σύστημα που επιβραδύνει την γρήγορη και απότομη καθίζηση του. Το σύστημα εξαλείφει αποτελεσματικά το πρόβλημα της απότομης πτώσης του καπακιού και ελαχιστοποιεί τον θόρυβο, εξασφαλίζοντας ομαλό και αθόρυβο κλείσιμο της τουαλέτας.

Εύκολη Αποσύνδεση

Το σύστημα εύκολης αποσύνδεσης της λεκάνης διευκολύνει τη διατήρηση της τέλειας καθαριότητας και της υψηλής υγιεινής στην τουαλέτα. Χάρη σε αυτό, το τακτικό πλύσιμο της λεκάνης και των δύσκολα προσβάσιμων περιοχών γύρω από αυτή γίνεται πολύ πιο εύκολο και πιο άνετο.

Slim

Λεπτή σανίδα με εξαιρετικά εργονομικό σχήμα και εξαιρετικά λεπτή εμφάνιση. Η κατασκευή ταιριάζει ιδανικά στο σύγχρονο εσωτερικό του μπάνιου, δίνοντας την αίσθηση της ελαφρότητας. Εξαιρετική επιλογή για μινιμαλιστικά σχέδια.

Μεταλλικοί μεντεσέδες

Το σετ περιλαμβάνει στιβαρούς μεταλλικούς μεντεσέδες που εγγυώνται σταθερή στερέωση της λεκάνης στην τουαλέτα. Αυτή η πρακτική λύση επιτρέπει την εύκολη προσαρμογή της λεκάνης στο σχήμα και τις διαστάσεις της τουαλέτας, εξασφαλίζοντας άνεση στη χρήση.

Μοντάζ με εντοιχισμένη κασετίνα

Η χρήση εντοιχισμένης κασετίνας για την τοποθέτηση κεραμικών επιτρέπει την ανάρτησή τους. Με αυτόν τον τρόπο μπορούμε να επιτύχουμε όχι μόνο μια μοντέρνα εμφάνιση του μπάνιου, αλλά και την διεύρυνση του χώρου καθώς και την ευκολότερη διατήρηση της καθαριότητας.

Κρυφή τοποθέτηση

Σύγχρονο σύστημα, στο οποίο όλα τα στοιχεία τοποθέτησης έχουν κρυφτεί. Αυτό δεν είναι μόνο αισθητικό, αλλά και πολύ πρακτικό. Διευκολύνει τη διατήρηση της καθαριότητας στο μπάνιο και εξασφαλίζει μια τακτοποιημένη εμφάνιση του μπάνιου.

Λάμψη

Η κεραμική με λάμψη είναι κομψή και διαχρονική. Προσθέτει στην μπάνιο μοναδική λάμψη, τονίζει την αισθητική της και εισάγει περισσότερη κομψότητα στο εσωτερικό. Η λάμψη αντικατοπτρίζει το φως, δημιουργώντας εντύπωση μεγέθυνσης και φωτεινότητας.

Προστασία UV

Το προϊόν χαρακτηρίζεται από υψηλή αντοχή στις αλλαγές της θερμοκρασίας και στην υπεριώδη ακτινοβολία. Το χρώμα δεν υφίσταται αποχρωματισμό και δεν ξεθωριάζει υπό την επίδραση των ηλιακών ακτίνων, διατηρώντας την εμφάνισή του για μεγάλο χρονικό διάστημα, ανεξάρτητα από τις συνθήκες.

Αντοχή στο θάμπωμα

Η επιφάνεια του προϊόντος είναι ανθεκτική στο θάμπωμα και διατηρεί την εξαιρετική της γυαλάδα για πολλά χρόνια χρήσης, με την προϋπόθεση της κατάλληλης φροντίδας. Ο τακτικός καθαρισμός εξασφαλίζει αισθητική εμφάνιση και αντοχή του προϊόντος.

PerfectClean

Το προϊόν διαθέτει λεία επιφάνεια, η οποία εντυπωσιάζει με τη λάμψη της και αναδεικνύει την αισθητική του εμφάνιση. Η καθημερινή φροντίδα και ο καθαρισμός της επιφάνειας από τους ρύπους που έχουν δημιουργηθεί είναι πολύ πιο εύκολη και δεν απαιτεί τη χρήση ισχυρών απορρυπαντικών.

2 χρόνια εγγύηση

Το προϊόν καλύπτεται από 2ετή εγγύηση. Σε περίπτωση προβλημάτων με το αγορασμένο προϊόν, σας παροτρύνουμε να έρθετε σε επαφή μέσω της φόρμας επικοινωνίας ή τηλεφωνικά στον αριθμό της γραμμής υποστήριξης.

Σειρά
Μήκος
55,5 εκ
Πλάτος
37 cm
Ύψος
33,5 εκ.
Χρώμα
Επιφάνεια
Γυαλιστερό
Σχήμα
Σετ περιλαμβάνει
Χωρίς γιακά
Συναρμολόγηση
Προστατευτική επικάλυψη
Σύστημα έκπλυσης
Χωρίς χείλος Tornado
Οδηγίες χρήσης - λεκάνη WC
Οδηγίες χρήσης - κάθισμα τουαλέτας
Όροι εγγύησης
Πληροφορίες ασφάλειας - λεκάνη τουαλέτας
Πληροφορίες ασφαλείας - κάθισμα τουαλέτας
Κατασκευαστής

Δεν βρήκες απάντηση;

Γράψε μας

Mexen Riva λεκάνη τουαλέτας Rimless Tornado με slim κάθισμα αργής πτώσης, duroplast,

Mexen Riva λεκάνη τουαλέτας Rimless Tornado με slim κάθισμα αργής πτώσης, duroplast,

Κατάλογος τιμής: 212,40 €

169,99 € (με ΦΠΑ)

Φθηνότερα από 42,41 €

19,97%

Η χαμηλότερη τιμή των τελευταίων 30 ημερών
πριν από την έκπτωση: 169,99 €

Ceramika+ Ceramika+
Χωρίς στεφάνη "Tornado" Χωρίς στεφάνη "Tornado"
Duroplast Duroplast
Μάρκα:
Σειρά:
Ean:
5905315577528
Δείκτης:
30630200T
Ύψος:
33,5 εκ.
Μήκος:
55,5 εκ
Πλάτος:
37 cm
Συναρμολόγηση:
Φόρτωση...